
| Engine_2014 : Steam Plants - 130/1951 |
|---|
| « Previous Question |
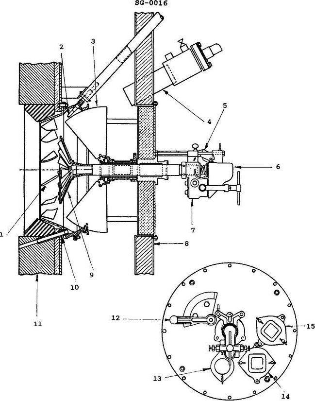
| According to the illustration, what part number identifies the "air doors"? |
| A) 1 |
| B) 3 |
| C) 9 |
| D) 4 |
loading answer...
Illustration SG-0016
| Comments |
|---|
| mickeyb55 - 2022-06-13 10:40:46 Member (1) |
| all sources I refer to indicate 3 are air doors and the answer would be "B" |
